Распиновка OBD2 DAEWOO NUBIRA2 1999 Daewoo Nubira

bellan

Добрый день.

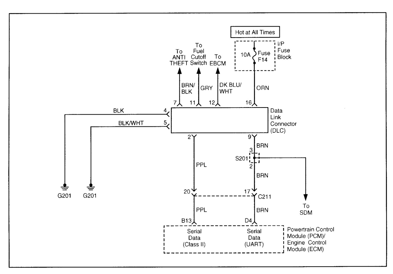
У кого есть опыт диагностики DAEWOO_NUBIRA_2_1999 кореец, поделитесь пожалуйста.

Прилагаю картинку подведенных проводов к диагностическому разъему с параметрами напряжений.

Подскажите назначение этих контактов.

TimKa
11.12.14  | 
11.12.14 | 
Я пользуюсь беспроводным адаптером ELM 327, синхронизация происходит по блюпупу, но есть и вифи адаптеры такого же типа.
Plus_X
04.05.19  | 
04.05.19 | 

qwerty12345
24.09.19  | 
24.09.19 | 
Здрасти всем! Подскажите пожалуйста, назначение микросхемы в блоке итмс6ф, 519k 9140. 1109 16079435 f21.
qwerty12345
24.09.19  | 
24.09.19 | 
Память как оперативка в ноуте. Микруха стоит в нижнем, левом углу. Ближе к разьёму а, б.


ПОИСК ПО САЙТУ


Наши автомобильные эксперты отвечают на все ваши вопросы. Зарегистрируйтесь и задайте вопрос.

Справочник такси поможет вызвать такси в вашем городе максимально дешево и быстро:


МЫ В СОЦ.СЕТЯХ
zen
pulse
telegram
vk

2007—2022. Сетевое издание «Автопипл». Возрастные ограничения: 16+
Почта редакции hkdkest@mail.ru
Телефон +7(499)490-76-06